引き戸が重い・動きが悪い・ガタつく…そんな時は戸車の不具合かもしれません。この記事では、DIY初心者でもできる戸車交換の方法と注意点をわかりやすく解説します。
和室リフォーム本舗、太田と申します。
建具業界に入って15年以上。
今はWEBやブログまわりを担当しています。
紙好きが高じて、襖紙の見分けにも自信あり。
実はフグ調理師免許も持ってます🐡
📹 戸車交換の手順を動画でチェック!
初めて引き戸の戸車交換をされる方に向けて、動画もご用意しています。
小さなサンプルを使って、取り外し・取り付けの基本的な流れを確認できますので、ぜひ参考にしてくださいね。
🔧 目次
- 引き戸の戸車交換が必要なサインとは?
- DIY前に準備しておく道具・部品リスト
- 交換前に確認すること
- 引き戸の外し方|安全に作業を始めるために
- DIYでできる引き戸戸車の交換手順
- 交換後のチェックポイント|異音・ガタつきの確認
- よくある質問(Q&A)|戸車の寿命やレール交換の必要性
- 自分でできない場合は?専門業者に依頼する選択肢
- まとめ|引き戸の戸車交換で快適な動きを取り戻そう
1. 引き戸の戸車交換が必要なサインとは?
引き戸の不具合には様々な原因がありますが、以下のような症状があれば、交換を検討するタイミングです。
- 引き戸の動きが重い、引っかかる。
- レールから脱線しそうになる。
- ゴロゴロ・ギシギシと異音がする。
- 引き戸が傾いて閉まりにくい。
2. DIY前に準備しておく道具・部品リスト
準備するもの

- プラスドライバー(または電動ドライバー)
- マイナスドライバー(こじ開け用)
- 新しい戸車(既存と同じ規格のもの)
- 汚れても良い布・毛布など(床保護用)
- 軍手(けが防止用)
3. 交換前に確認すること
今お使いの引き戸についている戸車の形状と穴加工サイズの確認
引き戸には、引き戸底もしくは側面に戸車を取り付けるための穴加工が施してあります。

いま使用中の引き戸の戸車の形状と穴加工サイズに合ったもの選ぶ必要があります。一度取り外してみて、実物を確認して同じ形状・同じサイズのものお選びください。
戸車の種類
代表的な5つのタイプを表にまとめました。対応するレールもあわせて確認しましょう。
| 種類 | 説明 |
![]() | V型戸車とVレールの図解 車輪の溝がV字になっているタイプです。 V型のレールとセットで使うことで、しっかりとガイドされ、真っすぐに動いてくれるのがポイントです。 |
![]() | 平型戸車(フラット型)と敷居の図解 車輪の溝が平らになっているタイプです。 襖(ふすま)や障子用の敷居の上で使用することで、開閉がスムーズになります。 |
![]() | T型とT型用レールの図解 T字型の溝を持つ特殊タイプ。専用T型レールで横揺れしにくく安定しますが、位置決めが重要です。 |
![]() | Y型戸車とY用レールの図解 Y字型の断面を持つタイプで、Y型のレールにフィットする形状です。 |
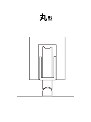
![]() | 丸型戸車と丸型用レールの図解 車輪に丸みのある溝がついたタイプです。甲丸戸車とも呼ばれます。半円型のレールの上で使用します。甲丸レールとも呼ばれています。 |
4. 引き戸の外し方|安全に作業を始めるために
- 扉の上部にストッパーや外し用のネジがあるか確認します
- 戸を少し持ち上げてレールから外す
- 倒れないように、毛布や布団の上に寝かせて作業しましょう
※力に自信がない方はお二人での作業をお勧めします。
5. DIYでできる引き戸戸車の交換手順
Step1:古い戸車を取り外す
- 戸の下部にあるビスをドライバーで外し、戸車を取り出します
- 固着している場合は、マイナスドライバーなどでてこの原理を使って外します
Step2:新しい戸車の仮合わせ
- 穴位置が合うか、新しい戸車がきちんと収まるかを確認します
Step3:新しい戸車を取り付ける
- 既存の穴を使い、しっかりとビス止めします
- 高さ調整機能がある場合は、左右のバランスを確認しながら調整します
Step4:引き戸を戻して動作確認
- 戸を戻し、レール上をスムーズに動くか確認しましょう
大まかな取り替え方は動画でもご確認いただけます。:
✅ 戸車交換の手順を動画でチェック!(この記事内の動画をご覧いただけます)
6. 交換後のチェックポイント|異音・ガタつきの確認
- 左右の高さは合っているか
- 扉の動きがスムーズか
- 異音やガタつきはないか
引き戸の動きが改善されていない場合は、レールや枠の変形、建付け自体の問題も考えられます。
7. よくある質問(Q&A)|戸車の寿命やレール交換の必要性
Q:寿命はどのくらい?
A:一般的には3~4年が交換の目安と言われていますが、使用頻度や環境によっては10年以上使えることもあります。
Q:戸車だけ交換しても意味はある?
A:はい。摩耗や変形だけが原因の場合、交換で劇的に改善することがあります。
Q:レールも交換する必要がある?
A:レールが凹んでいたり、表面の摩耗がひどい場合は交換をおすすめします。
8. 自分でできない場合は?専門業者に依頼する選択肢
DIYに不安がある方は、専門業者に依頼するのもひとつの手です。
| 作業内容 | 費用目安(1枚) |
| 交換のみ | 約5,000~8,000円 |
| レール交換含む | 約10,000~15,000円 |
業者に依頼するメリット
- 安心・確実な施工
- 建付けやレールの総合チェックもしてもらえる
- 保証がつくこともある
対応や料金は業者ごとに異なります。見積もりや口コミを比較し、安心できると感じた業者を選ぶと良いでしょう。
出典元:暮らしのマーケット|引き戸の交換・修理※外部リンクへ遷移します。
9. まとめ|引き戸の戸車交換で快適な動きを取り戻そう
引き戸が重い・異音がするときは、引き戸の戸車を交換して快適さを取り戻しましょう。DIY初心者の方でも手順を守れば交換は可能です。無理せず、安全に作業することが大切です。
「いきなり業者に頼むのはちょっと不安…」という方も、和室リフォーム本舗なら安心。メールやLINEでお気軽にご相談いただけます。
また、和室リフォーム本舗では各種「引き戸用戸車」や「対応レール」も取り揃えていますので、ぜひご覧ください。






